外网搜索:
 
球阀
闸阀
蝶阀
视镜
减压阀
安全阀
截止阀
过滤器
调节阀
止回阀
柱塞阀
隔膜阀
疏水阀
电磁阀
排气阀
保温阀
平衡阀
浆液阀
放料阀
切断阀
旋塞阀
铜阀门
排污阀
管夹阀
针型阀
温控阀
油田阀
水封阀
真空阀
美标阀
呼吸阀
阻火器
液位计
气动阀门
电动阀门
锻钢阀门
氨气阀门
氧气阀门
刀型闸阀
电站阀门
水利控制阀
不锈钢阀门
衬胶衬氟阀
波纹管阀门
液化气阀门
卫生级阀门
法兰标准尺寸
 

  当前位置:首页--产品展示--美标阀--Class球阀

  产品全称:Class球阀|上海迦百农阀门制造有限公司
    
        
  产品详细:

技术要求

设计和制造:ANSI B16.34、API 608、API 6D、BS 5351
结构长度:ANSI B16.10、API 6D
法兰连接:ANSI B16.5
防火要求:API 607、API 6FA
试验和验收:API 598、API 6D


材料
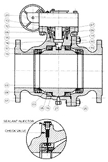
零件名称
材料
21
泄放阀
Carbon Steel/Stainless Steel
20
蜗轮驱动装置
Manufacturer's Standard
19
防静电装置
Stainless Steel
18
弹簧
17-7PH/inconel
17
O形圈
Viton
16
球体支撑座
Carbon Steel/SS
15
垫片
PTFE/NYLON
14
止推垫片
PTFE/NYLON
13
阀杆
CS+Plated/Stainless Steel

零件名称
WCB
LCB
WC6
WC9
12
螺母
A193 Gr B7
A320 Gr L7
A193 Gr B7
A193 Gr B16
11
螺栓螺母
A193 Gr B7/A194 Gr 2H
A320 Gr L7/A194 Gr4
A193 Gr B16/A194 Gr 4/7
A193 Gr B16/A194 Gr 4
10
垫片
PTFE/SPIRAL WOUND
PTFE/SPIRAL WOUND
PTFE/SPIRAL WOUND
PTFE/SPIRAL WOUND
09
填料
PTFE/Graphite
Graphite/PTFE
Graphite/PTFE
Graphite/PTFE
08
球座
PTFE/RPTFE
PTFE/RPTFE
PTFE/RPTFE
PTFE/RPTFE
07
密封压盖
A216 Gr WCB
A352 Gr LCB
A217 Gr WC9
A217 Gr WC9
06
填料压盖
A216 Gr WCB
A352 Gr LCB
A217 Gr WC9
A217 Gr WC9
05
球支撑座
A216 Gr WCB
A352 Gr LCB
A217 Gr WC9
A217 Gr WC9
04
阀座
A216 Gr WCB
A352 Gr LCB
A217 Gr WC9
A217 Gr WC9
03
球体
A216 Gr WCB
A352 Gr LCB
A217 Gr WC9
A217 Gr WC9
02
右阀体
A216 Gr WCB
A352 Gr LCB
A217 Gr WC9
A217 Gr WC9
01
左阀体
A216 Gr WCB
A352 Gr LCB
A217 Gr WC9
A217 Gr WC9

零件名称
C5
C12
CF8
CF8M
12
螺母
A193 Gr B7
A320 Gr L7
A193 Gr B8
A193 Gr B8
11
螺栓螺母
A193 Gr B16/A194 Gr 4/7
A193 Gr B16/A194 Gr 4/7
A193 B8/A194 8
A193 B8M/A194 B8
10
垫片
PTFE/SPIRAL WOUND
PTFE/SPIRAL WOUND
PTFE/SPIRAL WOUND
PTFE/SPIRAL WOUND
09
填料
GRAFOIL
GRAFOIL
GRAFOIL
GRAFOIL
08
球座
PTFE/RPTFE
PTFE/RPTFE
PTFE/RPTFE
PTFE/RPTFE
07
密封压盖
A217 Gr C5
A217 Gr C12
A351 Gr CF8
A351 Gr CF8M
06
填料压盖
A217 Gr C5
A217 Gr C12
A351 Gr CF8
A351 Gr CF8M
05
球支撑座
A217 Gr C5
A217 Gr C12
A351 Gr CF8
A351 Gr CF8M
04
阀座
A217 Gr C5
A217 Gr C12
A351 Gr CF8
A351 Gr CF8M
03
球体
A217 Gr C5
A217 Gr C12
A351 Gr CF8
A351 Gr CF8M
02
右阀体
A217 Gr C5
A217 Gr C12
A351 Gr CF8
A351 Gr CF8M
01
左阀体
A217 Gr C5
A217 Gr C12
A351 Gr CF8
A351 Gr CF8M

Class 1500
Size
inch
2
21/2
3
4
6
8
10
L,L1-RF、BW
mm
368
419
470
546
706
832
991
L2-RTJ
mm
371
422
473
549
711
841
1000
B
mm
51
64
76
102
146
184
241
H
mm
230
260
290
305
370
470
520
K
mm
300
300
400
400
600
600
750
Wt.(approx)
kg
52
74
98
144
320
695
960



 
 
美标阀|产品更详细目录:
   
     
  • API蝶阀
  • 钢制闸阀
  • API止回阀
  • API管线球阀
  • 对夹式止回阀
  • Class截止阀
  • API美标锻钢闸阀
  • Gate闸阀
  • 钢制美标截止阀
  • Class止回阀
  • Class球阀
  • Class止回阀
  • Class止回阀
  • Class截止阀
  • 低温闸阀、低温电动闸阀
  • 伞齿轮传动铸钢钢闸阀
  • Gate闸阀
  • Class止回阀
  • Class止回阀
  • Class球阀
  • 伞齿轮传动铸钢闸阀
  • Class截止阀
  • Class球阀


  • 工厂地址: 上海嘉定区黄渡工业园区 联系电话:86-021-36320477 36320744 传真:86-021-36320744

    沪ICP备05060708号 迦百农阀门 版权所有 不得转载

    Copyright @ 2000-2010 JiabainongValve Rights Reserved